Novi proizvodi
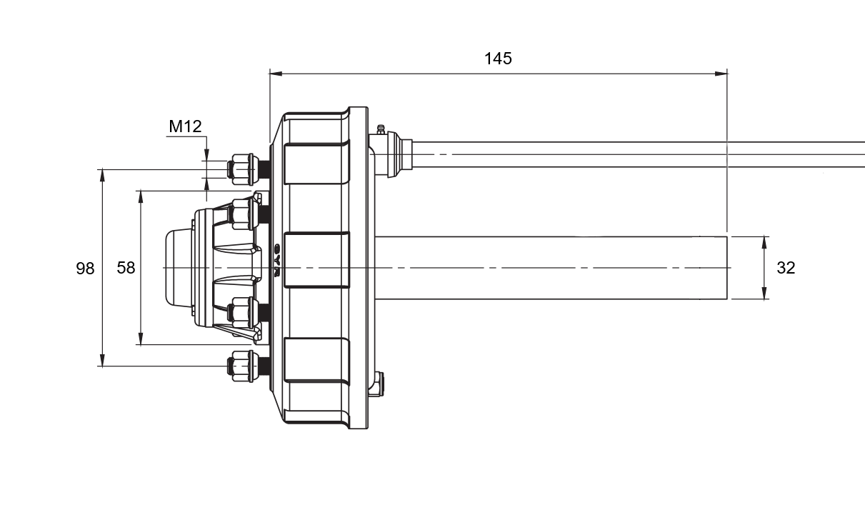
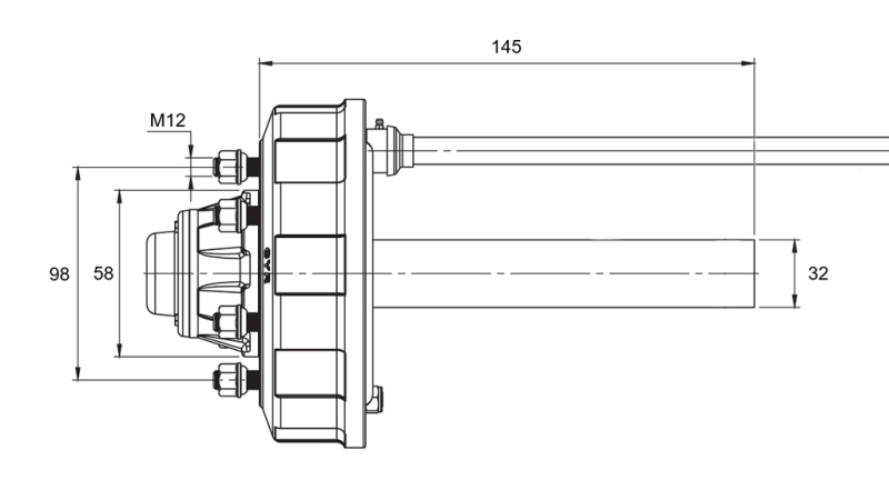
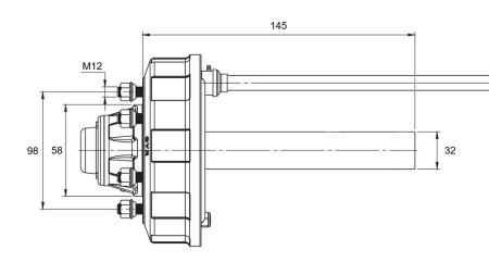
POLUOSOVINA S KOČNICAMA - 450 kg (4 VIJKA) - 145 mm
Šifra:
14653
OEM:
9990000175666
Stopa poreza
22 %
Cijena bez PDV:
36,89 EUR
Cijena sa PDV:
45,00 EUR
Ref:
16
| Tehničke informacije | |
| Dobavljač: |
Turkija |
| Povrat ili zamjena: |
14 dana |
| Jamstvo: |
6 mjeseci |
| Duljina: |
145 mm |
| Nosivost: |
do 450 kg |
| Promjer vratila: |
32 mm (zaobljeno) |
| Dimenzije kočnice: |
130 x 30 mm |
| Broj vijaka: |
4 |
Opis
Potporni osovinski vratilo namijenjeno je za upotrebu na različitim vrstama prikolica s kočnim sustavom. Duljina osovine je 145 mm, s nosivošću do 450 kg.
Zahvaljujući robusnoj izradi i pouzdanom dizajnu, pogodno je za uporabu na teretnim i radnim prikolicama gdje je potrebna stabilna i dugotrajna potpora kotača.
Potporni osovinski vratilo omogućava upotrebu standardnih naplataka s četiri vijka i olakšava montažu.



%20-%20145%20mm.jpg)


